政策法規 《生長激素制劑治療生長激素缺乏癥臨床試驗技術指導原則(征求意見稿)》(附法規概覽09.25-09.28)
發布時間:2023-09-28
01
關于公開征求《生長激素制劑治療生長激素缺乏癥臨床試驗技術指導原則(征求意見稿)》意見的通知

掃描識別圖中二維碼
查看詳細信息

02
關于公開征求《仿制藥質量和療效一致性評價受理審查指南(征求意見稿)》意見的通知

掃描識別圖中二維碼
查看詳細信息

03
關于公開征求《藥物臨床試驗不良事件相關性評價技術指導原則(征求意見稿)》意見的通知

掃描識別圖中二維碼
查看詳細信息

04
國家藥監局藥審中心關于發布《抗體偶聯藥物非臨床研究技術指導原則》的通告(2023年第46號)

掃描識別圖中二維碼
查看詳細信息

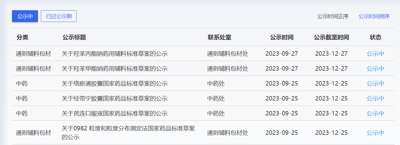
藥典委
近期藥典委發布關于芪連口服液、經帶寧膠囊、絡瘀通膠囊三個品種藥品,羥苯甲酯鈉、羥苯丙甲酯鈉藥用輔料標準草案的公示。

掃描識別圖中二維碼
查看詳細信息

-END-

轉載聲明:未經本網或本網權利人授權,不得轉載、摘編或利用其他方式使用上述作品。已經本網或本網權利人授權使用作品的,應在授權范圍內使用,并注明“來源:新領先醫藥科技”。

Hotline服務熱線:010-83057670
簡體中文

010-83057670
聯系地址:
技術市場部:
北京新領先
新領先藥訊
010-61006450
